Opis
ONICES gont bitumiczny 3-TAB
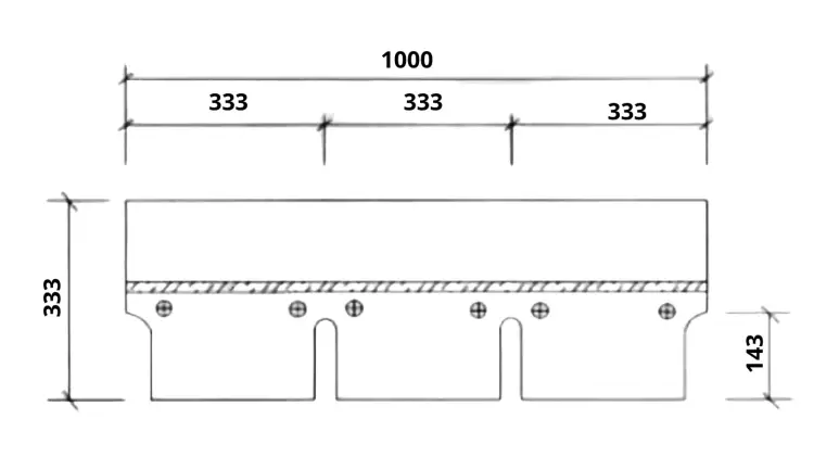
Gonty bitumiczne są materiałem służącym do pokrywania dachów skośnych, o minimalnym kącie nachylenia 15 stopni. Znajdują zastosowanie w nowych inwestycjach jak i przy remoncie starych pokryć dachowych. Onices 3-tab to jednowarstwowe gonty w prostokątnym kształcie. To materiał izolacyjny do dachów skośnych, otrzymywany poprzez pokrycie wkładki z welonu szklanego asfaltem oksydowany. Wierzchnią warstwę pokrywa posypka gruboziarnista, w rożnych kolorach. Klej w powyższych gontach nałożony jest z obu stron. Na spodniej warstwie występuje cienki pasek, natomiast na wierzchniej warstwie 3,5 cm wstęga kleju.
Służą jako samodzielne pokrycie lub jako pas kalenicowy do gontów laminowanych.
Informacje ogólne:
- Gonty bitumiczne powinny być przechowywane w suchym, dobrze wentylowanym oraz zadaszonym miejscu. Powinny leżeć na paletach, ilość warstw nie powinna przekraczać 12.
- Nie zaleca się montować gontów w temperaturach poniżej + 5 stopni C. W razie konieczności, powinny być przechowywane w ciepłym pomieszczeniu przez okres 24h, po wyjęciu na zewnątrz, użyte do montażu w ciągu dwóch godzin, aby zapobiec pękaniu w niskich temperaturach.
- Odpowiednio przechowywane gonty powinny zostać użyte do montażu w ciągu 20 miesięcy od daty produkcji.
- Gonty pochodzące z poszczególnych partii produkcyjnych mogą nieznacznie różnić się odcieniem. Przed ich montażem należy przemieszać zawartość kilku opakowań.
- W miejscach zagrożonych poderwaniem należy przykleić skrajne listki za pomocą specjalnego kleju bitumicznego. Warstwa kleju nie powinna przekraczać 1 mm grubości.
Dane techniczne:
| Ilość w opakowaniu: 3,1m2 | Rodzaj podstawy: Włókno szklane |
| Ilośc na palecie: 51 paczki/ 158,1 m2 | Rodzaj bitumu: Oksydowany |
| Waga paczki: 27,68kg | Pokrycie: Bazalt + antracyt |
| Reakcja na ogień: klasa E | Szerokość: (1000 +/- 3)mm |
| Zgodne z normą EN 544:2011 (PN-EN 544:2011) | Wysokość: (330+/- 3)mm |
Towar jest sprzedawany na pełne paczki, wysyłany na palecie.
Podana cena towaru jest za 1 paczkę, nie zawiera kosztów transportu.
W celu ustalenia kosztów transportu, prosimy o kontakt z działem handlowym.
Na zdjęciach staraliśmy się zaprezentować kolor gontu, jak najlepiej, ale może się on nieco różnić od rzeczywistości. Wszystko zależy od ustawień monitora, na którym są oglądane zdjęcia.
Opinie
Jeśli dodałeś/-aś recenzję, a nie pojawiłą się na liście, być może oczekuje na moderację.
Wystaw opinię o produkcie
Bezpieczeństwo produktu
Certyfikaty i ostrzeżenie bezpieczeństwa
- Utylizować zgodnie z lokalnymi przepisami dotyczącymi odpadów.
Producent
ZHEJIANG ONICES ROOFING TILE INDUSTRY CO. LTD XINTAI VILLAGE ZHONGTAI TOWN
YUHAN DISTRICT , HONGZHOU
310000 ZHEJIANG CHINA, Chiny
Osoba odpowiedzialna na terenie UE
PAPIARZ.PL Janusz Kościelnicki H.A.P.
16 LIPCA 28
28
41-506 Chorzów, Polska